SERVICE BULLETIN

HARLEY DAVIDSON & L.A. RIDERS DELUXE EDITIONS

PROBLEM: Steering Assy fails to retain calibration. Plastic gear in steering assy (SEGA Part No. 601-10003) is damaged, teeth are destroyed.

 

CAUSE: Bearings (SEGA Part No. 100-5306) become loose and shift side to side along the slot on bearing, thereby causing the gears to seperate and/or excessive force between the 2 gears.

 

SOLUTION: Install (2) bearing brackets using instructions given below. (Kit# 999-0736)



DIRECTIONS FOR INSTALLATION

 

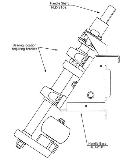
1. Remove Frontcover (HLD-3010) to expose Handle Base and Transducer. (see page#99 in manual for drawing of entire assy)

 

2. Remove thefour bolts securing the Transducer to the Handle Base.

 

3. Remove theTransducer.

 

4. Remove the2 Hex Bolts which secure each bearing. (see Figure #3)

 

Note: that you do not have to completelyremove the Handle Shaft to install the bearing brackets.

 

5. Install thebrackets as shown in Figure #1 and #2.

 

6. Replace thebolts to secure the bearings and torque to ~25 ft·lbs.Use loctite #242 on threads. Be sure to clean bolts before usingloctite.

 

7. Reinstallthe transducer.

 

8. Replace the Front Cover and calibrate inputs in the "Volume Adjustment" screen. (see page# 39 in manual for Volume Adjustments)

 

 

PHONE# 415-701-6580 FAX# 415-701-6594

If you have any questions then please contact the service department at the numbers given above. 10/10/98